18/10/2012
Консервна промисловість, що входить в якості підгалузі в харчову промисловість, займає вагоме місце в економіці України.
В умовах сучасного консервного виробництва, при великих завантаженнях технологічних ліній, задіяних в переробці сільськогосподарської сировини та процесах поточно-масового характеру, висока якість готової продукції можлива тільки при повній автоматизації виробництва і максимального виключення впливу на процес людського фактора. Прогрес не стоїть на місці, і в даний час існує безліч засобів і систем автоматизації, вибір яких здійснюється в залежності від поставленого завдання.
Одним з найважливіших процесів консервування є стерилізація - термообробка консервів, що дозволяє значно збільшити термін їх подальшого зберігання. Залежно від технологічного процесу, апарати для стерилізації діляться на безперервного і періодичного циклу. У свою чергу, апарати періодичної дії бувають відкритого типу – ванни, і закритого типу - автоклави. Автоклави по конструкції діляться на вертикальні і горизонтальні, з них вертикальні отримали більш широке поширення, з огляду на їх універсальність і невимогливість до виду тари продукції.
Основними параметрами регулювання процесу стерилізації є температура і тиск, автоматизована система управління дозволяє підтримувати їх в заданих межах. У даній статті описується одна з таких систем управління, встановлена ??на автоклаві водяній стерилізації консервів. Система працює на всіх стадіях технологічного процесу: подача холодної води в бак, прогрів води, заповнення простору автоклава консервами, зростання значень температури і тиску до заданих меж, сама стерилізація і охолодження готової продукції. Система являє собою готове рішення - автоматизоване робоче місце технолога автоклава і може використовуватися як на одному автоклаві, так і на комплексі агрегатів.
Переваги, одержувані за рахунок впровадження системи автоматичного управління автоклавом:
Використовувані в промисловості автоклави являють собою складні високотехнологічні агрегати, що працюють із великою продуктивністю. В даний час існує багато різновидів автоклавів, є серед них спеціалізовані моделі, та, не дивлячись на це все, вони працюють за одним принципом: нагрів піддається стерилізації продукту в фасованих ємностях до високої температури при певному тиску. Тиск має підвищене значення в порівнянні з атмосферним, в результаті чого запобігається руйнування (розрив) тари (посуду) за рахунок компенсації температурного розширення консервів, що нагріваються. Для визначення необхідного значення тиску існує формула автоклавування, в яку заносяться такі дані, як коефіцієнт температурного розширення, час термічної обробки, температура процесу і т.д.
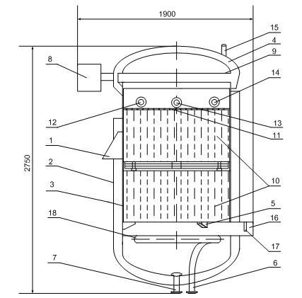
Схема автоклава марки Б6-КА2-В-2 в розрізі показана на малюнку 1.
Мал.1. Вертикальний автоклав Б6-КА2-В-2
1 - опора; 2 - корпус; 3 - термоізоляція; 4 - кришка; 5 - кронштейни; 6 - патрубок; 7 - зливний патрубок; 8 - противага; 9 - фланцевий затвор; 10 - автоклавні кошики; 11 - розсіювач; 12 - подача стисненого повітря; 13 - злив зверху; 14 - подача холодної води; 15-запобіжний клапан; 16 - коробка; 17 - місце підключення датчиків; 18 - барботер.
Автоклав Б6-КА2-В-2 складається з наступних вузлів і агрегатів: корпусу, підтримуваного опорою, засобів механізації, термоізоляції. Корпус автоклава являє собою зварену ємність циліндричної форми з дном форми еліпса, увінчану зверху кришкою такої ж еліптичної форми. Призначення корпусу - розміщення кошиків з консервами під час стерилізації. Корпус 2 і кришка 4 для запобігання теплових втрат покриті термоізоляцією 3.
Для поліпшення герметичності корпус з кришкою з'єднується через фланцевий затвор 9, конструкція якого складається з двох зустрічних фланців відповідно на корпусі і на кришці з проточними концентричними канавками, в порожнині яких вставлені гумові ущільнення. Для перевезення і монтажу автоклава до корпусу приварені три опори 1 і чотири рим-болта.
Для установки датчиків у внутрішній площині автоклава, до його нижньої поверхні приварена коробка 16. Також всередині корпусу розміщені кронштейни 5, для того, щоб на них розмістити кошики з продукцією; встановлено кільцевий барботер 18, з'єднаний з патрубком 6. Для зливу води до днища приварений зливний патрубок 7, обладнаний захисною сіткою. На кришці 4 розташовується ручка для відкривання і закривання, а також важелі противаг 8.
Фланцевий затвор 9 фіксується за допомогою розтискного кільця, що складається з розжимної системи, пальців, рукоятки і кільцевого пружинного поясу. Для безпеки обслуговуючого персоналу, на розтискні кільця встановлено блокування і елементи захисту.
Блоки арматури являють собою обв'язку для приєднання автоклава до живильних магістралей, за допомогою них здійснюється подача води, пара, подача стисненого повітря, слив відпрацьованої води. На магістралях підведення води, пара і повітря в якості виконавчих механізмів використовуються пневмоклапани МІМ (мембранні виконавчі механізми). Блоки арматури магістралей зливу складаються з мімів і запірних вентилів (ВЗ).
У харчовій промисловості в даний час ще можна зустріти стерилізацію консервів, де використовується виключно ручне управління в водяному середовищі. На таких виробництвах персонал піддає продукцію впливу високої температури з витримкою певного періоду часу. При цьому весь контроль за ходом технологічного процесу здійснюється візуально по даним показникам термометрів і манометрів, залежить від людського фактора, що не може не позначитися на ході технологічного процесу. На таких виробництвах неминучий брак продукції і фінансові втрати.
Пропонована система автоматизації автоклава повністю виключає вплив на процес стерилізації людського фактора і виконує наступні функції:
У нашій системі функцію головного регулюючого пристрою виконує програмований логічний контролер (ОВЕН ПЛК), що володіє високою продуктивністю і великим об'ємом внутрішньої пам'яті, що дозволяє складати програми для об'єктів високого рівня складності. При виникненні необхідності збільшити кількість входів / виходів, контролер може розширити шляхом підключення зовнішніх модулів.
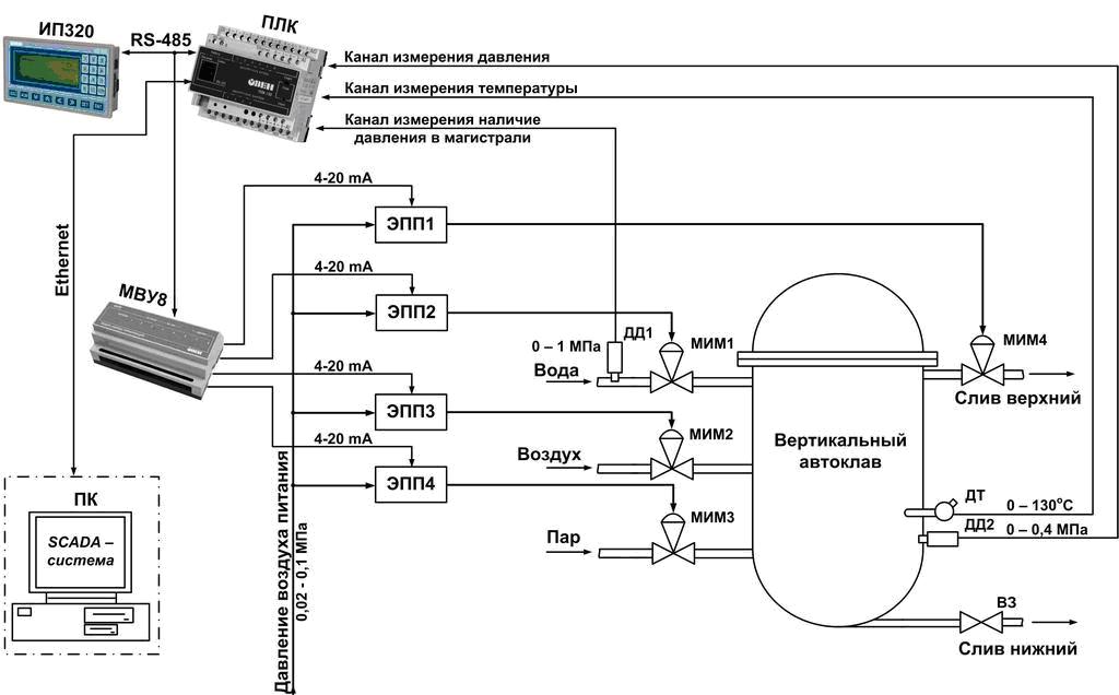
Функціональна електрична схема приведена на малюнку 2.
Мал.2. Функціональна схема системи управління автоклавом
ПК - персональний комп'ютер; ІП320 - цифрова панель оператора; ПЛК - програмований логічний контролер; МВУ8 - модуль виведення керуючий; ЕПП1-ЕПП4 - електропневматичний позиціонер; МІМ1-МІМ4 - клапан з пневматичним мембранним виконавчим механізмом; ВЗ - вентиль запірний; ДТ - датчик температури; ДД1-ДД2 - датчик тиску.
У наведеній схемі вертикальний автоклав є об'єктом регулювання. Основні параметри регулювання - тиск і температура, тісно взаємопов'язані між собою, що зумовило настройку двох зв'язаних каналів управління по температурі і тиску.
Центральний управляючий пристрій, на входи якого надходить вся інформація про процес - програмований логічний контролер ПЛК150, на борту якого розміщені 6 дискретних і 4 аналогових входи для підключення широкого спектру датчиків.
В автоклаві проводиться вимірювання температури за допомогою мідного термоперетворювача опору. Сигнал з нього надходить безпосередньо на аналоговий вхід контролера.
Так само, крім температури у внутрішньому просторі автоклава безперервно контролюється внутрішній тиск за допомогою датчика тиску ПД100-ДІ з уніфікованим струмовим сигналом 4-20 мА. Щоб виключити позаштатні аварійні ситуації під час режиму охолодження, при зливі гарячої води і заповненні холодною водою, на подачі холодної води встановлений датчик тиску, який контролює тиск води в магістралі охолодження. Якщо раптом натиск впаде нижче допустимого, то система відреагує на це сигналом для оператора і буде включена додаткова магістраль з запасного резервуара. Таким чином, охолодження продовжиться, отже рівень тиску води в автоклаві буде залишатися незмінним. В даному автоклаві не передбачено регулювання тиску в магістралях пара і повітря, але при бажанні їх можна так само здійснити за допомогою установки необхідних датчиків і виконавчих механізмів, благо в контролері для цього є всі необхідні входи і виходи.
Управління вихідними пристроями здійснюється модулем виходу керуючим МВУ8. Зв'язок між контролером і модулем розширення виходів МВУ8 здійснюється з промислового мережевого інтерфейсу RS-485.
Вся інформація про технологічний процес безпосередньо на об'єкті виводиться на панель оператора ІП320. Зв'язок між ПЛК і цифровою панеллю ІП320 здійснюється безпосередньо (без використання адаптера) так само по мережному інтерфейсі RS-485.
За допомогою інтерфейсу Ethernet відбувається передача даних про систему з контролера на верхній рівень в SCADA систему, яка дозволяє реалізувати функції візуалізації та управління технологічним процесом. Маючи простий і зручний інтерфейс, SCADA дозволяє оператору легко і комфортно управляти процесом стерилізації (малюнок 3).

а) Панель управління і моніторингу
Мал.3. Автоматизоване робоче місце оператора (АРМ)
Характеристика закону управління каналами регулювання температури і тиску обрана безперервна (лінійна), для забезпечення потрібної точності регулювання - диференціал температурного поля 2 0С, тиску 0,02 МПа. Таким чином, управління виконавчими механізмами відбувається з МВУ8 постійно змінюються сигналами від 4 до 20 мА.
У ролі виконавчого механізму виступає мембранний пневматичний клапан типу МІМ з пневмопозиціонером, що характеризується швидкістю спрацьовування і високою точністю регулювання, його електронні аналоги (з електроприводом) в цьому плані мають більш посередні характеристики.
В системі регулювання використовуються пневматичні виконавчі механізми, тому для перетворення уніфікованого струмового сигналу 4-20 мА в пневматичний 0,02-0,1МПа використовуються електропневмоперетворювачі марки ЕПП-21.
| № | Найменування | Кількість |
|---|---|---|
| 1 | Щит системи автоматичного управління автоклавом | 1 |
| 2 | Електропневматичний позиціонер ЕПП-1 | 4 |
| 3 | Датчик тиску з виходом 4-20 mA | 2 |
| 4 | Датчик температури дТС100П | 1 |
| 5 | Клапан односідельний з пневматичним виконавчим механізмом мембранного типу | 4 |
Таблиця 1. Склад системи автоматичного управління автоклавом
Зовнішній вигляд щита системи автоматичного управління автоклавом представлений на малюнку 4.

Мал.4. Щит системи автоматичного управління автоклавом
На завершення хочеться сказати, що проект повністю відповідає вимогам по точності і надійності, що пред'являються до обладнання для стерилізації консервів. Проект не вимагає великих витрат на покупку устаткування і його монтаж, має швидкий термін окупності, що робить його економічно вигідним до впровадження на виробництві. Сучасне обладнання і нові методи автоматичного управління роблять розроблену систему надійною і зручною в експлуатації. Використання даної системи управління дозволить знизити брак продукції і полегшити працю технолога харчової промисловості.